ADMC401BST是一款基于DSP的單芯片控制器,適合工業應用中的交流感應電機(ACIM)、永磁同步電機(PMSM)、無刷直流電機(BDCM)和開關磁阻(SR)電機的高性能控制。ADMC401集成了一個26 MIPS、定點DSP內核和一整套電機控制外設,允許在高度集成的環境中實現快速電機控制。
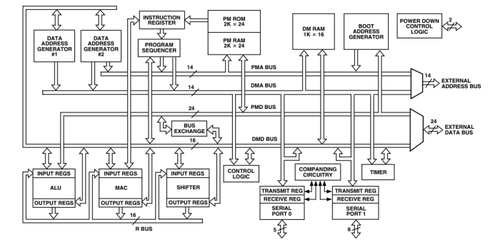
ADMC401BST的DSP內核為ADSP-2171,它與ADSP-21xx DSP系列以及ADMC3xx系列集成電機控制器的其它產品完全兼容,并結合三個計算單元、數據地址生成器和一個程序序列器。計算單元包括ALU、乘法器/累加器(MAC)和柱式移位器。DSP內核還增加了位操作指令、平方(x2)、偏置舍入和全局中斷屏蔽。此外,ADMC401中還包含兩個靈活的雙緩沖、雙向同步串行端口。

ADMC401BST提供2K × 24位內部程序存儲器RAM、2K × 24位內部程序存儲器ROM和1K × 16位內部數據存儲器RAM。程序和數據存儲器RAM可通過串行端口從串行E2PROM、通過UART連接(從外部主機微處理器或運動控制器調試器)或通過同步串行接口從主機微處理器引導加載。或者,內部程序和數據存儲器RAM可從該地址和數據總線中的外部器件引導。程序存儲器ROM包括監視器,通過串行端口增加軟件調試功能。
此外,ADMC401BST器件通過利用DSP內核的完整地址和數據總線,還增加了重要的外部存儲器和外設擴展能力。此功能允許擴展外部程序和數據存儲器,且意味著DSP內核可以尋址高達14K × 24位的外部程序存儲器和高達13K × 16位的外部數據存儲器。
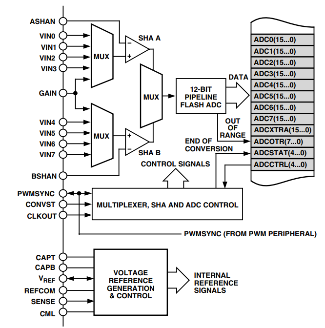
ADMC401BST包含許多專用電機控制外設。第一個外設是高性能、8通道、12位ADC系統,可在4對輸入上提供雙通道同步采樣能力。內部精密基準電壓源也可作為ADC系統的一部分。此外,以中心為基準的三相、16位、PWM發生單元可用于產生高精度PWM信號,且處理器內核的開銷極小。ADMC401BST還包含用于位置傳感器反饋的靈活增量式編碼器接口單元、兩個可調頻率輔助PWM輸出、12路數字I/O、一個2通道事件捕獲系統、一個16位看門狗定時器、兩個16位間隔定時器(其中一個可關聯至編碼器接口單元)和一個中斷控制器,用于管理所有外設中斷。最后,ADMC401包含一個集成上電復位(POR)電路,可在器件上電時生成所需的復位信號。
ADMC401BST優勢和特點
26 MIPS定點DSP內核
存儲器配置
高分辨率多通道ADC
基準電壓源
三相16位PWM產生單元
增量式編碼器接口單元

功能框圖

引腳配置

DSP核心框圖

ADC系統的功能框圖
詢價列表 ( 件產品)
哦! 它是空的。