最近,華為技術有限公司增加了多項專利信息,其中一項是“用于電動汽車充電的AC/DC轉換器及其控制方法”,官方號碼為cn117120295a。

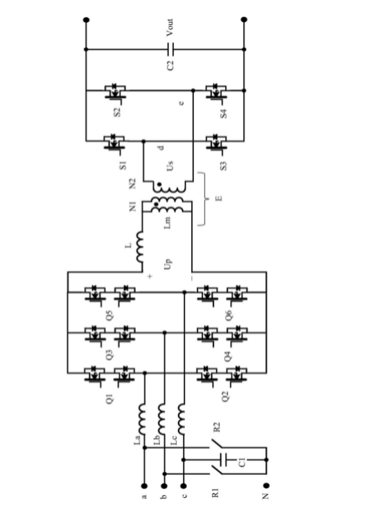
根據專利摘要,本發明涉及用于汽車充電裝置(on board charger,OBC)的ac/dc變換器。ac/dc變換器由3相輸入、3個輸入(a、b、c)、單級雙有源橋(dual?active bridge,DAB)電路;輔助電路。輔助電路由兩個開關裝置(r1, r2)和能源儲存裝置(c1)組成。上述輔助電路至少由兩個分支組成,兩個分支包括其中一個被提及的開關(r1和r2)。至少在季度上與單相ac輸入的輸入(a, b)相連接。另一個分支則與不進入單相ac的輸入(c)連接。另一個分支包括一個能量存儲系統(c1)。
據了解,截至2022年底,華為擁有有效授權專利超過12萬項,主要分布在中國、歐洲、美洲、亞太、中東、非洲。華為在中國和歐洲分別擁有4萬多項專利,在美國擁有22000多項專利。
詢價列表 ( 件產品)
哦! 它是空的。