NXP恩智浦PCA9959 LED照明驅動是一款菊花鏈spi兼容的4線串行總線控制的24路恒定預設電流LED驅動。這個驅動程序優化了調光和閃爍63mA的紅/綠/藍/琥珀(RGBA) led。每個LED輸出提供6位分辨率(64步)預設電流配置,絕對精度為±8%。PCA9959驅動的供電電壓范圍為2.7V到5.5V,包括一個內置的開路短負載和過溫檢測電路。PCA9959 LED照明驅動程序設計為使用4線讀/寫串行總線,數據時鐘頻率更高,可達10MHz。典型的應用包括RGBA LED驅動,LED狀態信息,IR編碼通信,LED顯示器,LCD背光,手機鍵盤背光。
NXP恩智浦PCA9959 LED照明驅動程序采用緊湊的5.0mm x 5.0mm x 0.85mm HVQFN40封裝,具有-40°C到+85°C的工作溫度范圍。
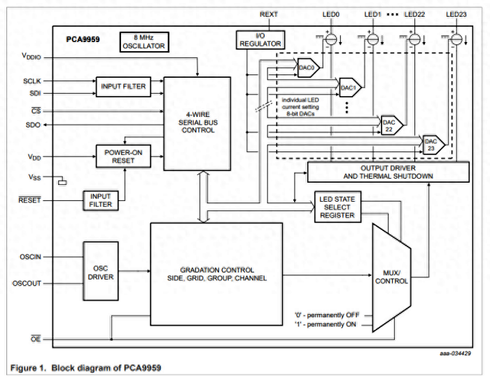
應用方框圖

封裝引腳圖

特性
24個LED驅動器,每個輸出可編程at:
從
在
6位可編程LED亮度
可編程LED輸出延遲,以減少EMI和浪涌電流
所有通道的級配控制:
每個通道可以分配到四個層次控制組之一
64個網格用于每個通道的漸變控制
可編程網格持續時間
四個預設的當前選項,每個通道在級聯控制
開路/短負載/超溫檢測模式,檢測個別LED錯誤
24個恒定預設電流輸出通道,可達63mA,并允許高達5.5V時,關斷
通過外部電阻(R(EXT)輸入)調節輸出預設電流
輸出預設電流精度:
±8%絕對精度,60mA輸出電流
±6.5%絕對精度,輸出電流30mA
最大±5%通道到通道的變化
最大±7%的設備之間的變化
低待機預置電流
有源低輸出使能(OE)輸入引腳
2.7V ~ 5.5V工作電源電壓范圍(V(DD))
5.5V非led引腳容錯輸入
工作溫度范圍:-40°C ~ 85°C
4線串行總線接口10MHz數據時鐘率
內部加電復位
根據jesd78 II類,鎖接性能超過100mA
ESD保護超過2kV HBM / JESD22-A114
HVQFN40包
應用領域
RGB或RGBA LED驅動
領導的狀態信息
手機或手持設備的鍵盤背光
淡入淡出呼吸光控制
LED顯示屏
液晶背光
利用預先編程的序列/亮度的紅外編碼通信
詢價列表 ( 件產品)
哦! 它是空的。